Закрыть товар
Предыдущий
Следующий

Рейтинг: 0

0 голосов

Неисправен дизель?
Воспользуйтесь ОнлайнДиагностикой для профессионалов
Желаете получить консультацию лично Владимира Николаевича?
Закажите ОнлайнКонсультацию

Bosch

10.08.2014 / 3.12.2014   •   23088 / 7605

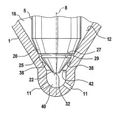
DE 103 53 683 A1 2005.06.16

Клапан впрыска топлива для двигателей внутреннего сгорания

pdf : 175,2 КБ
8.01.2021

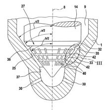
DE 195 47 423 B4 2008.09.18

Клапан впрыска топлива для двигателей внутреннего сгорания

pdf : 219,8 КБ
8.01.2021

EP1546547B1

КЛАПАН ВПРЫСКА ТОПЛИВА ДВИГАТЕЛЯ СГОРАНИЯ

pdf : 282,1 КБ
8.01.2021

Уважаемый посетитель! Мы физически не можем отвечать на каждый комментарий..
Для того, чтобы Вы могли самостоятельно (или с помощью ближайшего автосервиса) устранить неисправности дизеля, мы разработали ОнлайнДиагностику. Это интерактивное руководство, которое содержит все известные причины неисправностей дизельных двигателей и указывает пути достижения правильной работы конкретного двигателя.

Приглашаем вас воспользоваться ОнлайнДиагностикой прямо сейчас!
Для тех кто желает получить личную консультацию Владимира Николаевича

Оставить комментарий:

Выбрать
Подписаться на комментарии
Лехив Игорь
Тема: Двигатель Рено трафик 1.9
@ #16285   |   25.12.2021, 17:45

Подскажите пожалуйста что может быть? Машина роботала ровно без каких либо нариканий на 2 тыс. Об. Резкий стук в двигателе и заглохла, стартер еле крутит!? 

Ответить
саранчук станислав евгеньевич
Тема: на хх вибрация
Автомобиль: Ford Transit 2.4 TD, TDCi, TDi 2.4D
@ #12825   |   2.11.2018, 20:28

форд транзит 2,4, 2003г, 90лс. на холостых при холодном двигателе работает нормально, когда прогревается,то проскакивает вибрация. расход в норме, запуск нормальный. двигатель стал не много туповат. с чем может быть это связано.

Ответить
Троценко Александр
Тема: Проблема с запуском
Автомобиль: Opel Movano 2.5D
@ #12345   |   10.03.2018, 12:04
Опель мовано 2,5 после заправки проехал метров 500 потерял мощность и заглох. С трудом заводится работает секунд 3-4 и глохнет. Снял регулятор давления на насосе был залипший, поменял на новый, ничего не изменилось. Поменял фильтр и пробовали заводить из канистры, ничего не поменялось. Диагностика ошибок не даёт, метки в норме. При длительной прокрутке... Читать далее
Ответить
Мадюдя Володимир Григорович
Тема: плавают обороти двигателя
Автомобиль: Renault 12.0D
@ #12286   |   16.02.2018, 17:03

плавают обороти двигателя

Ответить
Драгун Дмитрий
Тема: Малое давление в топливной системе
Автомобиль: Peugeot 406 2.0D
@ #11915   |   22.10.2017, 11:36
Здравствуйте. Прошу вашей помощи, уже объездил много станций все разводят руками. Проблема в маленьком давлении после тф на тнвд 1.6 бар. Поменял в сборе стакан бош, ситуация не изменилась. В чем может быть проблема? Спасибо заранее
Ответить
Шелепйонок Ігор Йосипович
Тема: Renault Trafic 2006 2.0d стартером не заводиться.
@ #10762   |   15.09.2016, 16:46

Добрый день. Авто Renalt trafic 2.0Dci стартером не заводиться, но во время роботы не дымит, розход и тяга в норме. На к. диагностике при прокрутки стартером не набирает давление рампы (набирает 95 бар) , при  остановки двигателя в рампе держится 15 бар. Пробувалы  снимать питание з ел. клапана подачи топлива 

тнвд ни чего не меняется. Прошу совета, что нада проверить. Заранее благодарю.

Ответить
Клименок Владимир Николаевич
Тема: Renault Trafic 2006 2.0d стартером не заводиться.
@ #11462   |   8.04.2017, 17:46
Проверяйте;
  1.  форсунки на обратки.
  2. Клапан давления в рейле.
  3. Создаваемое давление ТНВД.
Ответить
Беленков Сергей
Тема: Opel Vectra B 2.0DI трудный запуск,вибрация,белый дым.
@ #9979   |   26.01.2016, 10:42
добрый день! автомобиль Opel Vectra B 2.0DI 1998г.в. при отрицательных температурах очень затрудненный запуск, высокая вибрация(ощущение детонации в 1-2 цилиндрах), белый дым, загорается чек (компютер выдает - низкое давление топлива) на "чеке" машина не развивает оборотов,но машина прогревается и все норм до следующего охлаждения двигателя. Сегодня... Читать далее
Ответить
Мороз Дима
Тема: ремонт тнвд
@ #9863   |   17.12.2015, 20:53
какая стоимость  ремонта насоса тнвд на форд транзите коннект 1,8 тди 2005 г,в в киеве на сто сняли насос и отвезли  в центр для проверки  привезли  обратно поставили а теперь работает  только  2 цилиндра а крайних не могу найти авто до этого работало как часики хотели разбирать двигатель так как было цокание  в месте 1 цилиндра так что отпишитесь по стоимости или может  они не правильно собрали 
Ответить
Мастер приемщик
Тема: ремонт тнвд
@ #9864   |   18.12.2015, 15:13

ТНВД проверили и какое заключение дали? Проводили ли какие-либо работы по ТНВД в Киеве?

Ответить