Закрыть товар
Предыдущий
Следующий

Рейтинг: 0

0 голосов

Неисправен дизель?
Воспользуйтесь ОнлайнДиагностикой для профессионалов
Желаете получить консультацию лично Владимира Николаевича?
Закажите ОнлайнКонсультацию

Насосы с рядным расположением плунжерных пар

28.11.2014 / 25.04.2018   •   10800 / 2927

Подкачивающий насос. Плунжерный насос подает топливо к ТНВД под давлением порядка 1....2,5 бар. Плунжер подкачивающего насоса, приводимый в действие от распределительного кулачка, при каждом такте перемещается в верхнюю мертвую точку. Возвратное движение осуществляется пружиной во время обратного такта - происходит впуск топлива. Чем больше давление в топливопроводе, тем меньше ход плунжера, подающего топливо.

Насос с рядным расположением плунжерных пар: 1- втулка нагнетательного клапана: 2 - опорный торец пружины: 3 - нагнета- тельный клапан: 4 - втулка плунжера: 5 - плунжер насоса; 6 - рычаг со сфери- ческой головкой; 7 - управляющая рейка; 8 - поворотная втулка; 9 - управляющий пояс плунжера: 10 - пружина плунжера: 11 - седло пружины: 12 - роликовый тол- катель; 13 - кулачковый вал


Топливный насос высокого давления. Каждый насос высокого давления с рядным расположением плунжеров имеет плунжерную пару для каждого цилиндра двигателя. Приводимый в движение двигателем кулачковый вал вызывает движение плунжера, повышающего давление топлива. Возврат его в первоначальное положение осуществляется пружиной. Плунжер подгоняется к втулке с такой точностью (зазор составляет 3...5 мкм), что он фактически работает без утечек даже при высоком давлении и на любых частотах вращения коленчатого вала двигателя. Рабочий ход плунжера является постоянным.

Регулирование подачи топлива в ТНВД с рядным расположением плунжерных пар: 1 - из топливного канала: 2 - к форсунке: 3 - втулка: 4 - плунжер: 5 - нижняя регулирующая спиральная выемка: 6 - вертикальная канавка.


Количество подаваемого топлива регулируется посредством поворота плунжера - спиральная выемка изменяет его действительный рабочий ход. Активная работа насоса начинается, когда верхняя кромка плунжера закрывает впускное отверстие. Прорезь соединяет камеру выше плунжера с зоной ниже пространственной спиральной выемки.

ТНВД с рядным расположением плунжерных пар с механическим регулятором (центробежного типа): 1- топливный бак: 2 - регулятор: 3 - топливоподкачивающий насос; 4 - ТНВД; 5 - муфта опережения впрыскивания: 6 - привод от двигателя; 7 - топливный фильтр: 8 - перепускной канал: 9 - форсунка: 10 - линия возврата топлива; 11- линия избыточного потока.


Для регулирования подачи топлива используются плунжеры с различными типами спиральных канавок. В плунжерах только с нижней спиральной канавкой начало подачи топлива всегда происходит при том же такте сжатия, а при вращении плунжера может изменяться опережение или запаздывание впрыска топлива. При верхнем расположении спиральной канавки изменяется начало впрыска топлива. Имеются также плунжеры с верхним и нижним расположением спиральных канавок.

Для ТНВД используются следующие типы нагнетательных клапанов: клапан с объемной разгрузкой; клапан-дроссель обратного хода: клапан постоянного давления.

Штуцер ТНВД с нагнетательным клапаном: а - с клапаном объемного течения и ограничением обратного течения: b - с клапаном постоянного давления; 1 - корпус нагнетательного клапана; 2 - обратный клапан; 3 - промежуточный объем; 4 - разгрузочный поясок; 5 - сферический клапан; 6 - втулка клапана; 7 - нагнетательный клапан; 8 - жиклер; 9 - обратный клапан.

Для ряда случаев применяются специально разработанные нагнетательные клапаны постоянного давления, которые используются в целях гашения волновых явлений при отражении от сопла форсунки, предупреждая, таким образом, повторное впрыскивание топлива. Клапан постоянного давления используется для поддержания стабильных гидравлических характеристик в системах впрыска топлива высокого давления и в небольших двигателях непосредственного впрыска, работающих на высоких частотах вращения коленчатого вала. В ТНВД, в которых средние величины давлений впрыскивания достигают 600 бар (например, в ТНВД размерностью М, А), плунжерно-втулочный комплект устанавливается в корпусе насоса. В насосах с давлением впрыскивания топлива, превышающим 600 бар, плунжерно-втулочный комплект, нагнетательный клапан и втулка нагнетательного клапана образуют единое устройство в целях исключения высоких усилий на корпусе насоса (например, в ТНВД размерностью MW, Р). ТНВД с рядным расположением плунжерных пар и присоединенный к нему регулятор подсоединяются к системе смазки двигателя.

Регулирование частоты вращения. Существуют регуляторы, поддерживающие заданные частоты вращения коленчатого вала двигателя, например, на холостом ходу или всережимные регуляторы, действующие в диапазоне между холостым ходом и максимальной частотой вращения. Есть регуляторы, управляющие режимом топливоподачи при полной нагрузке в зависимости от частоты вращения коленчатого вала, давлением воздуха, а также использующиеся для подачи дополнительного количества топлива, необходимого при пуске двигателя. Регулятор устанавливает количество подаваемого топлива посредством изменения положения рейки топливного насоса.

Характеристики работы регулятора: а - прямая коррекция момента ; b - нерегулируемый диапазон; с - обратная коррекция крутящего момента; 1 - установочная точка частоты вращения на холостом ходу; 2 - внешняя скоростная характеристика; 3 - внешняя скоростная характеристика двигателя с турбонаддувом; 4 - внешняя скоростная характеристика двигателя без турбонаддува; 5 - внешняя скоростная характеристика двигателя без турбонаддува с относительной компенсацией; 6 - промежуточный контроль частоты вращения коленчатого вала двигателя; 7 - количество топлива для запуска

Механические (центробежные) регуляторы. Такие регуляторы приводятся во вращение от кулачкового вала ТНВД. Грузы под действием центробежных сил, преодолевая усилия пружины регулятора, воздействуют посредством системы рычагов на рейку насоса. Центробежная сила и сила упругости пружины находятся в состоянии равновесия, устанавливая рейку в положение, соответствующее подаче топлива для заданной мощности. Уменьшение частоты вращения при повышении нагрузки приводит к соответствующему уменьшению центробежной силы, и пружина регулятора перемещает вращающиеся грузы, а вместе с ними и рейку насоса в направлении повышения количества подаваемого топлива до тех пор, пока не восстановится равновесие.

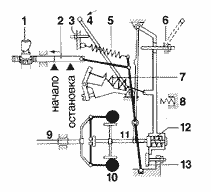
Регулятор типа RQ: 1 - плунжер насоса; 2 - рейка насоса; 3 - остановка при полной нагрузке; 4 - регулирующий рычаг; 5 - кулачковым вал ТНВД; 6 - вращающиеся грузы; 7 - пружина регулятора; 8 - скользящий шток

Всережимные регуляторы. Они поддерживают фактически постоянную частоту вращения в соответствии с положением рычага управления. Применяются в дизелях грузовых автомобилей, строительной техники, тракторов.

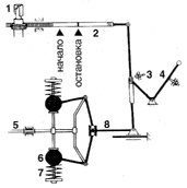
Регулятор типа RSV: 1 - плунжер насоса; 2 - рейка насоса; 3 - ограничитель максимальной частоты вращения; 4 - рычаг управления; 5 - пружина пуска; 6 - шток остановки двигателя: 7 - пружина регулятора; 8 - вспомогательная пружина режима холостого хода; 9 - кулачковый вал ТНВД; 10 - центробежные грузы; 11 - шток; 12 - пружина регулирования крутящего момента; 13- ограничитель полной нагрузки


Двухрежимные регуляторы (минимальной и максимальной частот вращения) Этот тип регулятора эффективен только на холостом ходу, когда двигатель достигает максимальных оборотов. Крутящий момент между этими крайними величинами определяется положением педали управления подачей топлива.

Комбинированные регуляторы. Комбинированные регуляторы представляют собой синтез двух описанных выше типов регуляторов. В зависимости от специфики использования, активный контроль может осуществляться как в верхнем, так и в нижнем диапазонах частот вращения коленчатого вала двигателя.

Типы регуляторов. Регуляторы типа RQ и RQV включают работу центробежных масс, которые действуют на пружину регулятора; движения рычага управления изменяются в соответствии с передаточным отношением точки опоры рычага. В регуляторах типа RSV и RSF пружина регулятора находится вне вращающихся масс, поэтому передаточное отношение в точке опоры рычага остается в основном постоянным.

Уменьшение частоты вращения. Работа регулятора характеризуется степенью неравномерности частоты вращения 6: 6= (nLO - nVO)/nVO * 100% где nLO - верхняя безнагрузочная частота вращения; nVO - верхняя полнонагрузочная частота вращения коленчатого вала. Чем меньше разность между nLO и nVO, тем меньше снижение частоты вращения, другими словами - тем выше степень точности, с которой регулятор поддерживает конкретную частоту вращения коленчатого вала. Всережимные регуляторы, устанавливаемые на небольших высокооборотных двигателях, позволяют поддерживать частоту вращения коленчатого вала в пределах 6...10%.

Дополнительное оборудование Регулирование крутящего момента. Вспомогательная пружина (пружина регулирования крутящего момента) точно подстраивается на режим работы двигателя, обеспечивая необходимую подачу топлива на режиме полной нагрузки, только при немного пониженных показателях. При достижении заданной частоты вращения коленчатого вала пружина сжимается и вызывает перемещение рейки насоса в направлении уменьшения цикловой подачи (положительный контроль крутящего момента). Также возможен отрицательный контроль, который соответствует повышенной частоте вращения коленчатого вала двигателя посредством увеличения количества подаваемого топлива.

Компенсатор давления во впускном патрубке (LDA): 1 - подсоединение усилителя давления; 2 – диафрагма Компенсатор давления во впускном патрубке (LDA)

В дизелях с турбонаддувом необходимо повышать цикловую подачу топлива. Для повышения крутящего момента подпружиненная диафрагма увеличивает топливоподачу при возрастании давления наддува при полной нагрузке. Диафрагма воздействует на рейку насоса, к которой она подсоединяется, в целях обеспечения соизмеряемого увеличения количества подаваемого топлива.

Компенсатор абсолютного давления (ADA): 1 - мембранный датчик давления; 2 - соединение с атмосферой

Компенсатор абсолютного давления (ADA) Такой компенсатор подобен компенсатору LDA. Он уменьшает цикловую подачу топлива на полной нагрузке в случае снижения атмосферного давления (в высокогорных условиях). Мембранный датчик давления смещает рейку насоса в направлении снижения цикловой подачи, как только уменьшается атмосферное давление.

Устройство пуска, учитывающее температуру: 1 - рейка насоса; 2 - механизм прекращения пуска двигателя, действующий с помощью элемента расширения


Устройство холодного пуска (TAS). Двигатель в холодном состоянии для нормального пуска требует увеличенной цикловой подачи топлива. При высоких температурах атмосферного воздуха и прогретом двигателе обогащение смеси может привести к повышенной дымности отработавших газов. В этих условиях применяется устройство холодного пуска (ТАS), использующее термодатчик для предупреждения переобогащения смеси во время пуска прогретого двигателя.

Датчик перемещения рейки (RWG): 1 - пластинчатый стальной сердечник; 2 - контрольная катушка; 3 - фиксированное кольцо закорачивания; 4 - рейка насоса; 5 - измерительная катушка; 6 - подвижное кольцо закорачивания

Датчик перемещения рейки (RWG). В датчике RWG применяются индукционные катушки. После обработки данных сигнал используется для выполнения управления механической или гидравлической коробкой передач, обеспечения более низких величин расхода топлива, рециркуляции отработавших газов и диагностики

Датчик перемещения рейки (RWG). В датчике RWG применяются индукционные катушки. После обработки данных сигнал используется для выполнения управления механической или гидравлической коробкой передач, обеспечения более низких величин расхода топлива, рециркуляции отработавших газов и диагностики

Датчик закрытия отверстия (FBG). Датчик FBG представляет собой индукционное устройство для управления двигателем при помощи закрытия отверстия ТНВД. Устройство синхронизации (положение отключения)

Устройство опережения впрыскивания Размещается на приводе между двигателем и ТНВД. Центробежные грузы реагируют на повышающуюся частоту вращения коленчатого вала двигателя посредством поворота кулачкового вала ТНВД по отношению к ведущему валу в направлении "опережения подачи".

Выключение работы насоса. Используется механическое (рычаг остановки), электрическое или пневматическое устройство для остановки дизеля прекращением подачи топлива.

Электронный регулятор (EDC). Вместо регулятора центробежного типа может использоваться электронный регулятор для ТНВД с рядным расположением плунжерных пар, в котором имеется соленоидный привод с бесконтактным индуктивным датчиком, определяющим положение рейки насоса. Соленоидный исполнительный механизм приводится в действие с помощью ECU, который сравнивает положение дроссельной заслонки, частоту вращения и некоторое число дополнительных факторов с рабочими характеристиками с целью определения правильного количества подаваемого топлива (выражаемого как функция положения рейки). С помощью электронного контроллера сравнивается положение рейки насоса с конкретной точкой для определения значения тока возбуждения соленоида, который сжимает возвратную пружину. Когда отклонения определяются, регулируется ток возбуждения, обеспечивая смещение рейки насоса к более точному положению. Индуктивный измерительный преобразователь частоты вращения коленчатого вала управляет положением колеса, устанавливаемого на кулачковом валу; ECU использует импульсные интервалы для вычисления частоты вращения коленчатого вала двигателя. Преимущества электронного регулятора: двигатель может пускаться и останавливаться при помощи ключа зажигания; свободный выбор внешних скоростных характеристик; максимальное количество впрыскиваемого топлива точно скоординировано с давлением наддува для соблюдения норм на дымность отработавших газов; возможность корректировки в зависимости от температур воздуха и топлива; обогащение смеси во время пуска; контроль частоты вращения коленчатого вала двигателя для вспомогательных устройств; средство управления движением на маршруте; регулирование максимальной скорости движения автомобиля; стабилизация частоты вращения на холостом ходу двигателя; регулирование силы тяги (ASR) при автоматической коробке передач; передача сигнала для тахометра и дисплея расхода топлива; интегральная диагностика отказов.

Рядный ТНВД с дополнительной втулкой. Такой насос для управления углом опережения впрыскивания осуществляет регулировку закрытия отверстия (начало подачи топлива). Выпускное отверстие в корпусе насоса включено в золотник каждого плунжерно-втулочного комплекта. Управляющий вал с рычагами регулирует положение всех скользящих контактов одновременно посредством смещения скользящего контакта вверх или вниз, вводя опережение или запаздывание начала подачи топлива. Поворот вала производится электромагнитным механизмом. Датчик перемещения иглы контролирует начало впрыскивания непосредственно в форсунке. Он передает соответствующий сигнал к ECU в целях регулирования тока возбуждения соленоида для достижения совместимости с заданными исходными величинами. Датчик частоты вращения коленчатого вала подает точную информацию о продолжительности впрыскивания топлива по отношению к ВМТ посредством импульсов от контрольных меток на маховике.

Рядный ТНВД с электронным управлением цикловой подачей топлива: 1 - рейка; 2- исполнительный механизм; 3 - кулачковый вал; 4 - датчик частоты вращения коленчатого вала; 5 - ECU. Входные/выходные величины: а - отключение при избыточной подаче; b - повышение давления; с - скорость движения автомобиля; d - температура (вода, воздух, топливо): е - изменение впускаемого количества топлива; f - скоростной режим: g - перемещение рейки; h - положение соленоида; i - индикатор расхода топлива и частоты вращения; к - диагностика; i- положение дросселя; m - заданный скоростной режим; n - сцепление, тормоза, торможение двигателем

Уважаемый посетитель! Мы физически не можем отвечать на каждый комментарий..
Для того, чтобы Вы могли самостоятельно (или с помощью ближайшего автосервиса) устранить неисправности дизеля, мы разработали ОнлайнДиагностику. Это интерактивное руководство, которое содержит все известные причины неисправностей дизельных двигателей и указывает пути достижения правильной работы конкретного двигателя.

Приглашаем вас воспользоваться ОнлайнДиагностикой прямо сейчас!
Для тех кто желает получить личную консультацию Владимира Николаевича

Оставить комментарий:

Выбрать
Подписаться на комментарии