Закрыть товар
Предыдущий
Следующий

Рейтинг: 0

0 голосов

Неисправен дизель?
Воспользуйтесь ОнлайнДиагностикой для профессионалов
Желаете получить консультацию лично Владимира Николаевича?
Закажите ОнлайнКонсультацию

Насос-форсунки с клапанным регулированием цикловой подачи

27.11.2014 / 25.04.2018   •   6468 / 1920

Новое поколение систем впрыскивания топлива на основе одного насоса, регулируемого по времени, для современных легковых и грузовых автомобилей с дизелями с непосредственным впрыском характеризуется модульной конструкцией; эти системы включают электронно-управляемый блок насос-форсунки (PDE) и блок насоса (PLD).

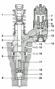
Блок насос-форсунки (РОЕ):
1 - пружина; 2 - корпус насоса; 3 - плунжер насоса; 4 - головка цилиндра; 5 - держатель пружины; 6 - стяжная гайка; 7 - статор; 8 - якорная пластина; 9 - игла соленоидного клапана; .10- стяжная гайка соленоидного клапана; 11 - заглушка канала высокого давления; 12 - заглушка канала низкого давления; 13 - упор иглы соленоида; 14 - сужение; 15 - возврат топлива; 16 - подача топлива; 17 - инжектор; 18 - нажимной штифт: 19 - прокладка; 20 – распылитель

Блок насос-форсунки (PDE)

Электронно-управляемый блок насос-форсунки представляет собой одноцилиндровый ТНВД. Этот блок характеризуется интегральным соленоидным клапаном и предназначен для установки непосредственно на головке цилиндров дизеля. Кронштейны, работающие на растяжение, удерживают отдельные модули, которые имеют раздельные цепи подачи топлива для каждого из цилиндров двигателя. Кулачок на распределительном валу приводит в действие индивидуальную для каждого цилиндра насос-форсунку непосредственно через коромысло или косвенно посредст- вом штанги толкателя и коромысла. Быстродействующий соленоидный клапан, в соответствии с параметрами, определяемыми в программной карте двигателя, обеспечивает точную регулировку времени начала впрыска топлива и скорости потока. В отключенном положении соленоидный клапан обеспечивает неограниченный проход потока топлива от насоса к цепи низкого давления системы. Соленоидный клапан включается во время хода подачи плунжера насоса, перекрывая перепускной клапан, таким образом, герметизируя цепь высокого давления. Топливо затем подается к форсунке, как только превышается давление открытия распылителя. То есть впрыск топлива начинается, когда соленоидный клапан закрывается. Насос-форсунка используется при давлениях впрыскивания топлива до 160 МПа (180 МПа для перспективных моделей). Эта конструкция также может применяться для выборочного индивидуального отключения цилиндра (при частичных нагрузках).

Уважаемый посетитель! Мы физически не можем отвечать на каждый комментарий..
Для того, чтобы Вы могли самостоятельно (или с помощью ближайшего автосервиса) устранить неисправности дизеля, мы разработали ОнлайнДиагностику. Это интерактивное руководство, которое содержит все известные причины неисправностей дизельных двигателей и указывает пути достижения правильной работы конкретного двигателя.

Приглашаем вас воспользоваться ОнлайнДиагностикой прямо сейчас!
Для тех кто желает получить личную консультацию Владимира Николаевича

Оставить комментарий:

Выбрать
Подписаться на комментарии
Гость
@ #5741   |   30.03.2013, 18:13
Месяц назад полетела турбина на фольксваген т5 1.9 tdi2004г.в.Ее просто разорвало, Причиной назвали интеркулер, Меряли компресию холодного мотора проверяли форсунки все в норм, и вот спустя месяц новая турбина идет спать из-за недостаточной подачи масла.Сейчас назвали причиной выработана шайба в головке цилиндра . Тоесть пропускала дизель и турбина... Читать далее
Ответить
Клименок Владимир Николаевич
@ #5742   |   31.03.2013, 18:07
У нас таких случаев не было, если начинал увеличиваться уровень масла в картере, то водитель сразу вычислял, и прекращал эксплуатацию ТС, если же не замечал, то двигатель щёл в разнос, и тогда кранты были всему...
Ответить
Гость
@ #5739   |   14.03.2013, 14:02
Здравствуйте Владимир Николаевич! Хочу задать Вам вопрос! И получить
человеческий ответ!

У меня проблема с машиной Volkswagen Т5,2.5, 130л.с AXD!

Пошла в масло солярка! Поехал на станцию поменял кольца
уплотнительные! Покатался немного и проблема осталась снова растет
уровень!
когда меняли кольца я лично заметил что на форсунках есть небольшая... Читать далее
Ответить
Клименок Владимир Николаевич
@ #5740   |   14.03.2013, 14:05
Мы восстанавливаем посадочные гнёзда. Работает эффективно. Если на самих форсунках выработка больше 0,1мм, то форсунки подлежат замене.
Ответить